

工作原理
打滑检测器工作时,通过胶带带动触轮,使触轮反应出胶带的实际带速,触轮带动检测器内传动轴,使产品内部继电器工作,继电器工作主要是由轮片切割光电信号,由内设固定数值与实际值产生对比数值从而产生通断信号,完成检测带速工作,如果胶带速度与主滚筒速度不同步并下降到正常带速的20-30%时,接点通断信号发生变化,重新输出一组信号给控制室,警示工作人员胶带已处于严重打滑状态。

打滑检测器型号
DH-III打滑检测器、DH皮带打滑检测器
安装说明
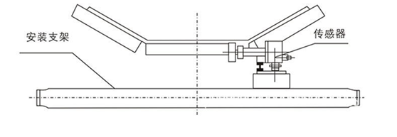
1.先将固定支架焊在输送机的横梁上;再将支臂用销轴、开口销连接在支架上。
2.安装后应满足下述要求:打滑检测器装置按胶带运行方向顺向放置,触轮距胶带边缘200-300mm






打滑检测器主要技术指标
检测带速范围:0.8~3.5米/秒
供电电源:AC 380V (AC 220V), 2A, 50HZ;
绝缘电阻:≥ 20 MΩ
触点数量:一开一闭两组触点,双向动作;
触点容量:电压500V以下,电流2A以下
触点寿命:不大于10万次;
打滑率:25%~30%(可以用户要求而定)
工作环境:-30~+60
防护等级:IP54.
热烈祝贺我公司与蓬莱东海热电有限公司合作洽谈成功! 山东蓬莱东海热电有限公司主要从事电力热力产品的生产与销售,是一家重发展、重质量的企业。
登泰山顶 览泰山胜景 成默语者 怀默寓兼赢 2019年,泰默机械迎来了十年华诞!十年前的今天,徐州泰默机械有限公司注册成立。
1908年,美国赫尔伯特· 梅里克(Herbert·Merrick)开发了世界上第一台皮带秤,是世界上第一种根据重力测量散装物料流量的设备,改变了原有测量物料流量的传统方法
虽然说电子皮带秤本身没有皮带,但是,电子皮带秤的使用脱离不了皮带,也就是说要与皮带配套使用。皮带在电子皮带秤的使用中发挥着至关重要的作用,皮带的好坏也关系到电子皮带秤能够正常运行。
因此,在日常使用中,为了确保电子皮带秤的正常使用,除了要选出优质皮带,也要注意对皮带进行合理的保养.电子皮带秤皮带的保养方法:
1、启动和停止电子皮带秤的皮带时要在无负载的条件下进行;
2、现场工作人员要及时发现和解决现场输送机皮带的故障,以确保电子皮带秤的皮带能正常运行;
3、每天检测电子皮带秤的皮带是否转动正常以及减速机是否有异常;
4、尽量避免输送水分比较大的物料,防止物料粘接到皮带上导致皮带下沉和变形,影响正常的使用;
5、每天停机前,必须要等电子皮带秤的皮带上的物料输送完才能停机。